Firm blank logo
350900, Краснодар, ул. Куликовского, 39
Тел. (861) 279-0-114, 8 918 4611452
E-mail: oil@energy1.ru https://www.energy1.ru
Токарные работы
Токарные работы
Токарные работы
Токарные работы
Токарные работы
Токарные работы
Токарные работы

Токарные работы

Download specification
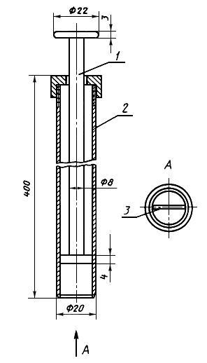
Выполним токарные работы на современном токарном обрабатывающем центре с приводным инструментом.
Цена на токарные работы зависит от времени (нормочасов), стоимости материалов и инструмента. Сроки выполнения определяются продолжительностью подготовительного этапа и самой обработки, которые, в свою очередь, зависят от сложности заказа, размера партии и загруженности производства. Для точного расчета и сроков необходимо обратиться за индивидуальным расчетом.
More info

Videos

Точим капролон

Обработка латуни

Штуцер

Обработка нержавеющей стали

Up